1, НАСТРОЙКА СЧЕТЧИКОВ-ДЕЛИТЕЛЕЙ ОЗ...06.
ПРИ ФОРМИРОВАНИИ ИНПУЛЬСА НАЧАЛЬНОЙ УСТАНОВКИ МИКРОСХЕМОЙ
014.2 (ВЫХОД 6) БОЛЬШУЮ РОЛЬ ИГРАЕТ ЗАДЕРДКА ПРИ СРАБАТЫВА-
НИИ ТРИГГЕРА 0В.1. ЕСЛИ ЭТА ЗАДЕРЖКА ПРЕВЫШАЕТ ДЛИТЕЛЬНОСТИ
ИМПУЛЬСА НА ВЫХОДЕ 04/12, ТО СИГНАЛ НАЧАЛЬНОЙ УСТАНОВКИ МО-
ЖЕТ ВООБЫЕ НЕ СФОРМИРОВАТЬСЯ. ПОЭТОМУ ДЛЯ УВЕЛИЧЕНИЯ ДЛИТЕЛЬ-
НОСТИ ИМПУЛЬСА, ПОСТУПАВШЕГО С ВЫХОДА 04/12 НА ВХОД 014.2/4
РЕКОМЕНДУЕТСЯ УСТАНОВИТЬ КОНДЕНСАТОР 100... 1000 ПФ (ПОДБИРА-
ЕТСЯ ), КАК ПОКАЗАНО НА РИСУНКЕ 1*1.
для устойчивого формирования сигнала кадровой синхронизации
(кс), а такде для устойчивого срабатывания счетчикэв 05, 06
рекомендуется установить нд вход 11 микросхемы 05 < или 06
конденсатор 100...1000 п# (си. рис< 1.2)
эта корректировка устраняет срывы кадровой синхронизации при
отклонении напрямения питания от значения 5,0v.
2.КОРРЕКТИРОВКА СИНХРОНИЗАЦИИ ДЛЯ РЕГИСТРА 033 (555ИР9)
ЗАМЕНА 555ИР9 НА ДВЕ МИКРОСХЕМЫ 555*Р1б.
ПРИ РИСОВАНИИ НА ЭКРАНЕ ТЕЛЕВИЗОРА ЛИНИЙ ТИПА ОКРУЖНОСТЬ.
ДУГА И ДР. НАБЛЮДАЕТСЯ НАРУШЕНИЕ НЕПРЕРЫВНОСТИ ЛИНИЙ. ДлЯ УС-
ТРАНЕНИЯ ЭТОГО ЭФФЕКТА РЕКОМЕНДУЕТСЯ ВВЕСТИ ЗАДЕРЖУ СИГНАЛА
ВСЯ (СМ. РИС. 2.1).
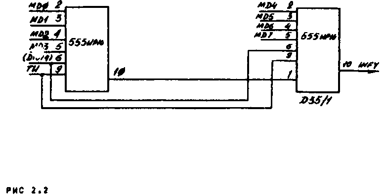
ПРИ ЗАМЕНЕ РЕГИСТРА 033 (555ИР9I НА МИКРОСХЕМЫ 393иР16 НА-
РУШЕНИЕ НЕПРЕРЫВНОСТИ ЛИНИЙ НЕ НАБЛЮДАЕТСЯ. СХЕМА ДЛЯ ПОДКЛЮ-
ЧЕНИЯ МИКРОСХЕМ 5SSHP16 ВМЕСТО 35SMP9 ПРЕДСТАВЛЕНА НА Р. 2.2.
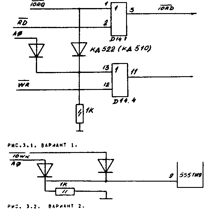
3. доработка сигнала (omr.
доработку сигнала 10ия ношно произвести дву«я вариантами
4.ОБЕСПЕЧЕНИЕ УСТОЙЧИВОЙ РАБОТЫ ОЗУ
ПРИ' ИСПОЛЬЗОВАНИИ В КАЧЕСТВЕ МИКРОСХЕМ 565РУ5 С РАЗНЫМИ
БУК8АМИ ( Б >8 «Г ) ВОЗМОЖНО ПОЯВЛЕНИЕ СБОЕВ Э РАБОТЕ,
ОДНОЙ ИЗ ПРИЧИН ЭТОГО МОЖЕТ СЛУЖИТЬ РАЗЛИЧИЕ 80 ВРЕМЕННЫХ
ХАРАКТЕРИСТИКАХ МИКРОСХЕМ ОЗУ. В ЭТОМ СЛУЧАЕ БОЛЬШУЮ РОЛЬ ИГ-
РАЕТ СИГНАЛ RAS, А ИМЕННО ЕГО ФОРМА И ЗАДЕРЖКА.
ПРАКТИКА ПОКАЗАЛА, ЧТО ПОСЛЕДОВАТЕЛЬНОЕ ВКЛЮЧЕНИЕ В ЦЕПЬ
РЕЗИСТОРА СОПРОТИВЛЕНИЕМ 300 ОМ НАИБОЛЕЕ ПРИЕМЛЕМО ДЛЯ ОБЕС-
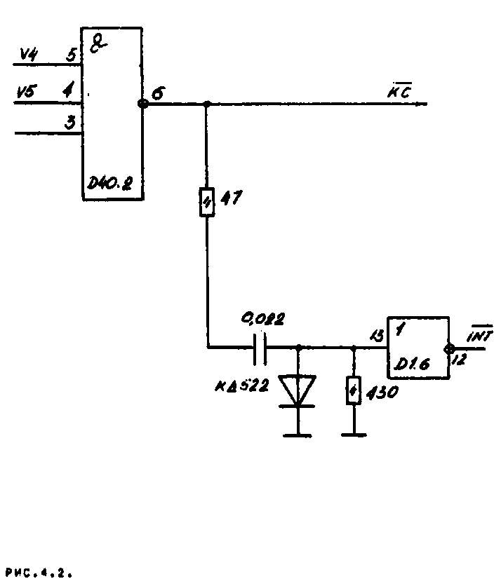
ПЕЧЕНИЯ УСТОЙЧИВОСТИ РАБОТЫ ОЗУ <РИС.4.1). НА РИСУНКЕ 4,2.
ПРЕДСТАВЛЕНА ДОРАБОТКА СИГНАЛА INT.

5.ВАРИАНТУ СХЕМ ВВОДА И ВЫВОДА ИНФОРМАЦИИ
ПОСЛЕДОВАТЕЛЬНОМУ КАНАЛУ ( МАГНИТОФОН ).
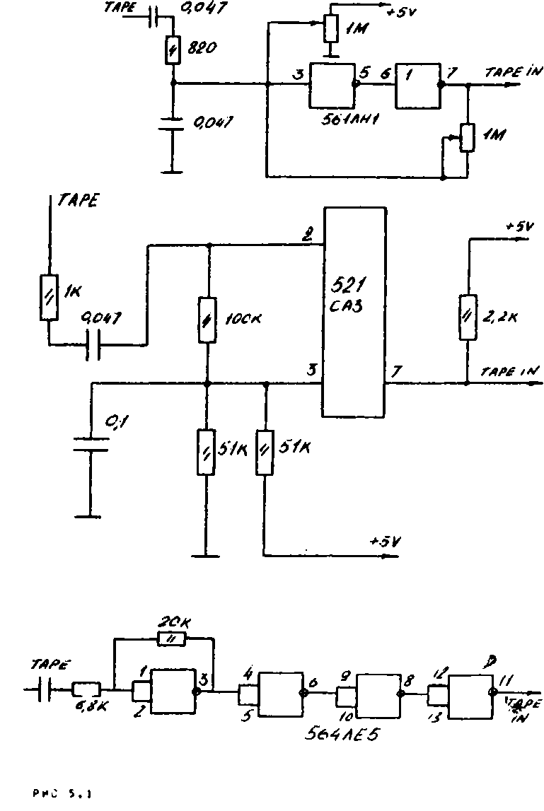
НАСТРОЕНИЕ ПОЛЬЗОВАТЕЛЯ ВО МНОГОМ ЗАВИСИТ ПРИ »ДбОТЕ НА
КОМПЬЮТЕРЕ ОТ ТОГО • НАСКОЛЬКО ЧАСТО СЛУЧ40ТСЯ С6СИ При ВВОДЕ
ПРОГРАММ. ПРАКТИКА ПОКАЗАЛА, ЧТО УВЕРЕННО РАБОТАЮТ Три УПРО-
ЩЕННЫХ ВАРИАНТА ВВОДА ИНФОРМАЦИИ, ПРЕДСТАВЛЕННЫЕ НА »ИС. 5,
ВАЖНЫМ УСЛОВИСН ПРАВИЛЬНОГО ВЫВОДА ИНФОРМАЦИИ НА МАГНИТОФОН
ЯВЛЯЕТСЯ СОГЛАСОВАНИЕ АМЛЛиТУДНО-ЧАСТОТНЫХ ХАРАКТЕРИСТИК УС-
ТРОЙСТВА И МАГНИТОФОНА. ПРИ ОТСУТСТВИИ СОГЛАСОВАНИЯ ВОЗНИКА-
ЕТ ИСКАЖЕНИЕ ФОРМЫ СИГНАЛА, ПРИВОДЯЩЕЕ К ТОМУ, ЧТО ПРИ ВВОДЕ
БУДУТ ПРОИСХОДИТЬ СБОИ < ОУИБКИ ВВОДА ) •
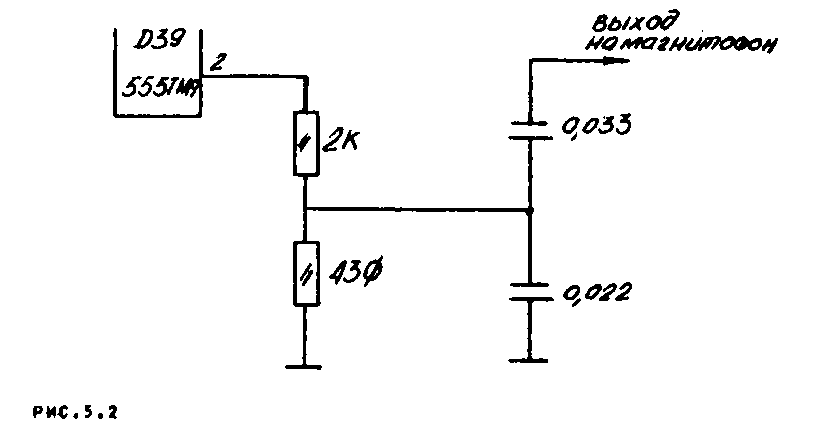
НА РИС.5.2 УКАЗАНЫ ЗНАЧЕНИЯ РЕЗИСТОРОВ И КОНДЕНСАТОРОВ ДЛЯ
УНИВЕРСАЛЬНОЙ СХЕМЫ ВЫВОДА, УДОВЛЕТВОРЯЮЩЕЙ БОЛЬШИНСТВУ БЫ-
ТОВЫХ ОТЕЧЕСТВЕННЫХ МАГНИТОФОНОВ.
«.КОРРЕКТИРОВКА ЧАСТОТЫ СТРОЧНОГО СИНХРОИМПУЛЬСА.
ЕСЛИ У ВАС ИСПОЛЬЗУЕТСЯ КВАРЦЕВЫЙ РЕЗОНАТОР С РЕЗОНАНСНОЙ
ЧАСТОТОЙ, ОТЛИЧНОЙ ОТ 14,0 МГЦ, ТО ОЛЯ ФОРМИРОВАНИЯ ПЕРИОДА
СТРОЧНОГО СИНХРОИМПУЛЬСА <ССИ).РАВНОГО 64 ИКС IСОГЛАСНО ТРЕ-
БОВАНИЯМ ТЕЛЕВИЗИОННОГО СТАНДАРТА). СЛЕДУЕТ ИЗМЕНИТЬ КОД НА-
ЧАЛЬНОЙ УСТАНОВКИ СЧЕТЧИКА 04 <ВХОДЫ 00,01,02.03».
ДЛЯ РАСЧЕТА КОДА НАЧАЛЬНОЙ УСТАНОВКИ СЛЕДУЕТ ПОЛЬЗОВАТЬСЯ
зависимость®:
TCC*32«(32-N)/F0»
ГДЕ ТСС - ПЕРИОД СТРОЧНОГО СИНХРОИМПУЛЬСА
F0 - ЧАСТОТА КВАРЦЕВОГО РЕЗОНАТОРА
N - ЧИСЛО, ВЫРAfАВШЕЕ КОД НАЧАЛЬНОЙ УСТАНОВКИ СчЕТчи-
КА В ДЕСЯТИННОМ *ИДЕ#
НАПРИМЕР» ДЛЯ ЧАСТОТЫ 14 МГЦ ПОЛУЧИМ!
64«32*(J2-NI/14, ТО ЕСТЬ N«4
ЭТО ОЗНАЧАЕТ, ЧТО КОД НАЧАЛЬНОЙ УСТАНОВКИ СЧЕТЧИКА 04 СУДЕТ
равен: оо«о oi»o 02«i оз»Ь
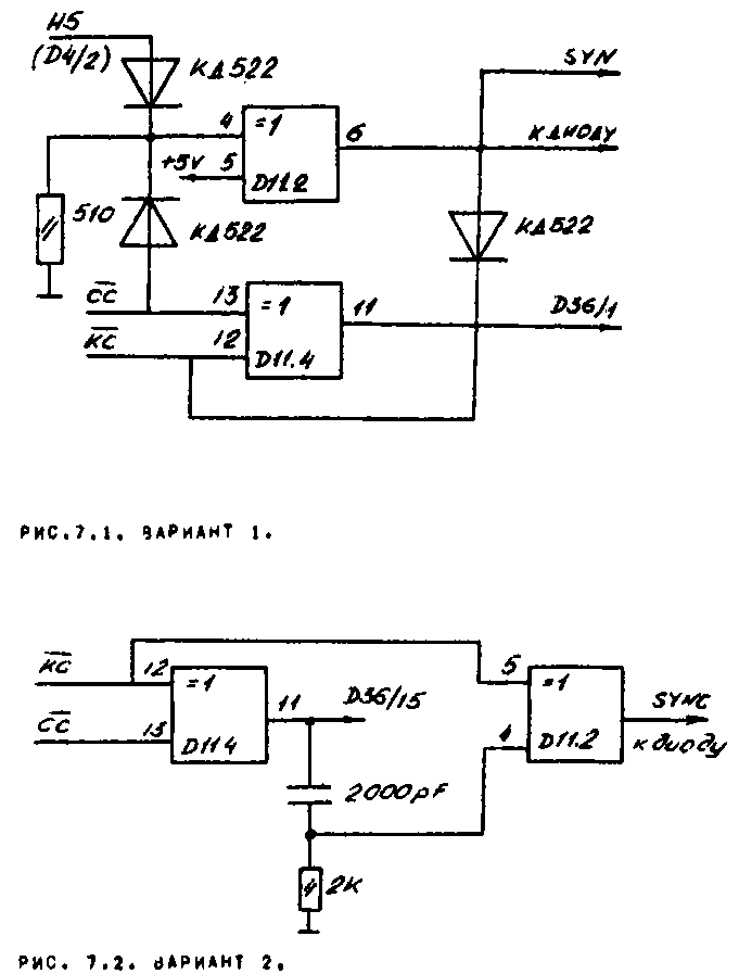
7.СХЕМЫ ФОРМИРОВАНИЯ СИГНАЛОВ БИТОВЫХ.ТЕЛЕВИЗОРОВ.
НА РяС. 7.1 ПРИВЕДЕНА СХЕМА ФОРМИРОВАНИЯ СИНХРОСИГНАЛА ДЛЯ
ТЕЛЕВИЗОРА «РЕКОРД» И ПОДОБНЫХ.
в. инвертирование сигналов rgb
длй многих телевизоров, в том числе и для "рекорда", тре-
буется инвертировать сигналы rcb • длй этого существует два
варианта.
1.91ест0 5 5 5 к л 11 (036) использовать 555<л14,н0 *ри этом не-
обходимо "перевернуть" диоды и установит» так, как показано
на рисунке рис.в.и:

АЛЯ ПОЛУЧЕНИЯ НЕОБХОДИМОЙ АМПЛИТУД СИГНАЛА СЛЕДУЕТ ВЫБИРАТЬ
ЗНАЧЕНИЕ ♦ ПИТАНИЕ• ЕСЛИ ДЛЯ НАПРЯмЕНИЯ ♦ ПИТАНИЕ ИСПОЛЬЗУ-
ЕТСЯ ИСТОЧНИК, НАХОДЯЩИЙСЯ В ТЕЛЕВИЗОРЕ, ТО УСИЛИТЕЛЬНЫЙ КАС-
КАД <Rl,R2»Tl) УДОБНЕЙ РАЗМЕСТИТЬ В САМОМ ТЕЛЕВИЗОРЕ(РИС.В.3»
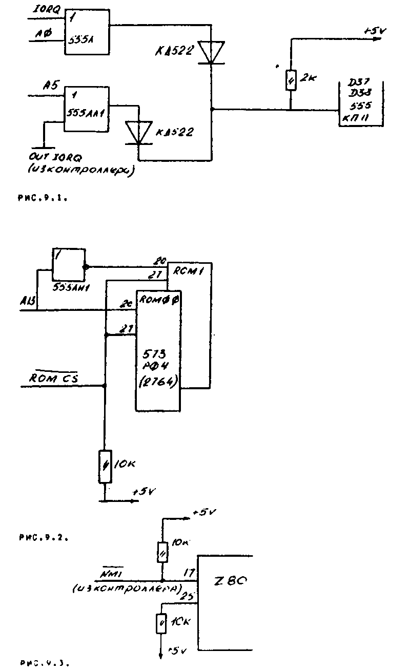
9.п0дил«чение КОНТРЭЛЛСРА нгид»
ДЛЯ ПО в к лечении ДИСКОВОДОВ РАЗЛИЧНОГО ТИПА К ИОМПЬВТЕРУ ZX
SPfcCTftUH »АЗРА|0ТАН КОНТРОЛЛЕР НА основе МИКРОСХЕМЫ I91ВВГ93
И СОС1Р1А4ИР ОПЕРАЦИОННУЮ СИСТЕМУ T*OOS.
СЛ»Д90ч»ыЕ IAHHHE ПО TR009 9*OIHO НАЙТИ В ИЗДАНИЯХ |
• *0*кРАЦИ0ННА* С4СТЕИА TROOS"J
- "ПЭДКЛвЧЕИИЕ ДИСКОВОДА*1 •
Д/l* УСТОЙЧМОЙ РД|ОЩ •ЛЕНИНГРАДСКОГО** ВАРИАНТА КЭмПь«ТЕРА
С КОНТРОЛЛЕРОМ BETA-DISK РЕКОНЕНДУЕТСЯ 6УtEPfPOBAТЬ Ы*н/ АД-
РЕСА IA9...AI5) С ПОНОИЬВ МАГИСТРАЛЬНЫХ УСИЛИТЕЛЕЙ, НАПРИМЕР
999ДПЭ»959АП4|999АП9 И.1И 993АП4.
чТавы ОСУЩЕСТВИТЬ ВЗАИМОДЕЙСТВИЕ KOMHbfTEPA И КОНТРОЛЛЕРА•
ИСО«ХОИИМ9 ВЫПОЛНИТЬ .ОРАЮТКУ ПЛАТЫ КОЧПЬвТЕРА, СОГЛАСНО
ОДНОМУ ИЗ РИСУНКОВ 9.1»9»2,9.э.
2.ИСПОЛЬЗОВАТЬ ЛИНЕЙНЫЙ УСИЛИТЕЛЬ-ИНВЕРТОР НА РИСУНКЕ ПОКА-
ЗАН ОДИН ИЗ КАНАЛОВ R,3 ИЛИ В (РиС.В.2).